華天可變頻三相(動力型)應急電源
為只有一路電源的動力負荷提供一種可變頻的三相應急電源系統,以解決電動機的應急供電及其啟動過程中對供電設備的沖擊。

安裝形式:落地式
備用時間:90min,(可按設計要求配置備用時間)
規格系列:2.2、3.7、5.5、7.5、11、15、18.5、22、30、37、45、55、75、90、100、132、160、187、200、220、250、280、315、355、400、500(單位:kVA)
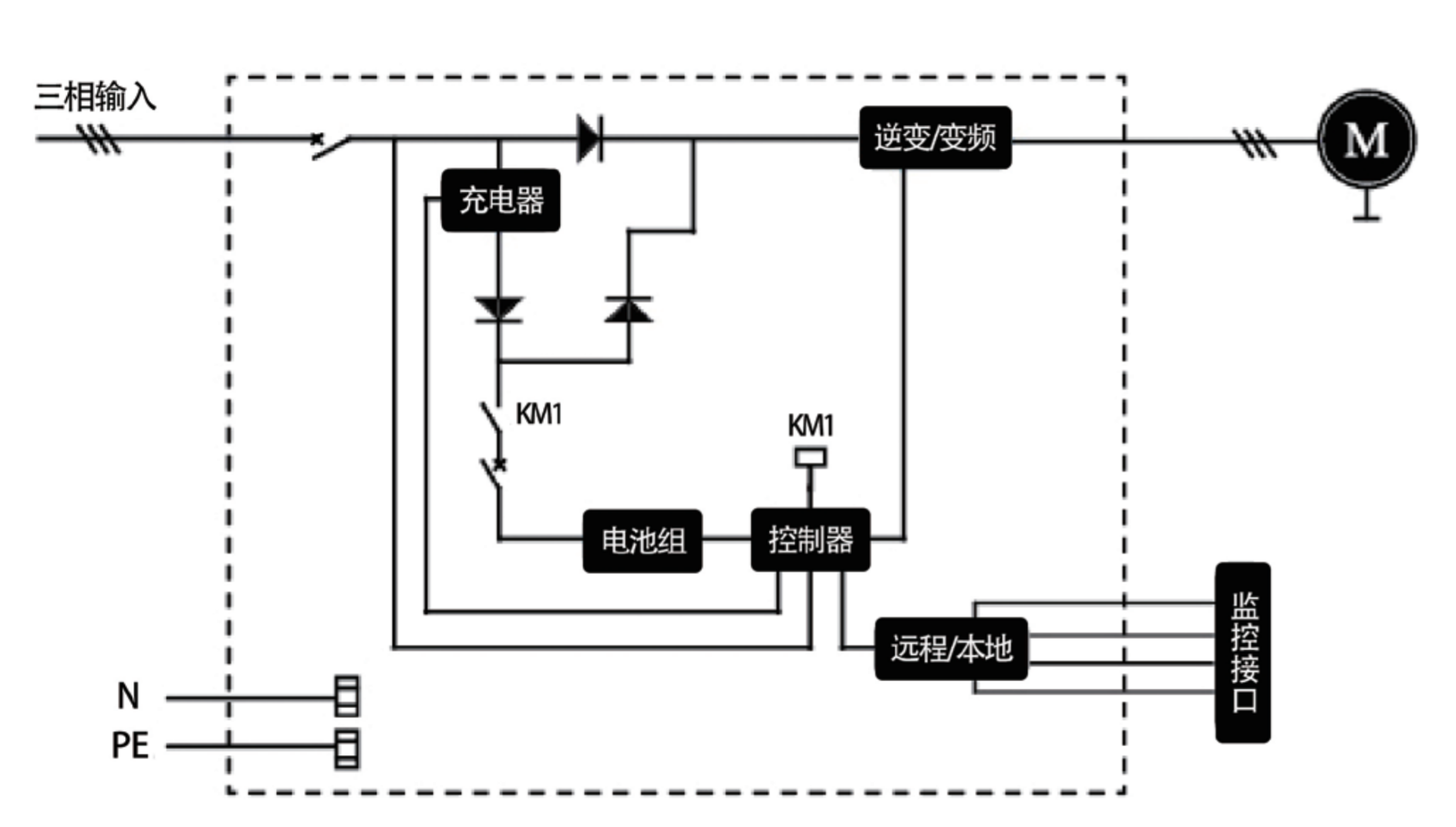
原理框圖

設備內部由逆變/變頻器、充電器、電池組、控制器、遠程/本地控制接口、接觸器 KM1 等構成。
設備正常時,KM1 一直處于吸合狀態;如果市電輸入正常,則由市電和電池組同時給逆變器供電;同時,市電經充電器對蓄電池充電。當市電中斷或異常時,逆變器由電池組單獨供電,實現市電和電池組的無縫切換。
不論逆變器由市電還是電池組供電,只有當控制器接收到要求啟動信號時(如強制、消防聯動、本地啟動、遠程啟動),才會控制逆變器變頻啟動,同時將狀態返回給消防控制中心。當控制器接收到停止信號或當電池電壓低于規定值時,控制器控制逆變器停止運行。
其他運行模式僅為控制方式上的區別,工作原理基本相同。
規格型號

